현대차 폭 조절하는 가변 휠 특허, 주차 시 휠 손상 줄여





현대자동차가 폭을 조절할 수 있는 ‘가변 휠’을 특허 출원했습니다. 미국 특허청에 출원한 이번 특허는 자동으로 폭을 좁힐 수 있는 휠 디자인이며, 좁은 공간에 주차할 때 휠에 상처를 입을 우려를 덜어 줍니다.
일반적으로 평행 주차 시 최대한 가깝게 차를 붙이려다가 연석 등의 장애물에 휠이 손상되는 경우가 많죠. 특히, 대형 SUV를 운전할 때 운전자들이 어려움을 겪는 부분이기도 합니다.
이번 특허는 휠의 폭을 좁게 만들어 림보다 타이어를 더 돌출시키는 형태입니다. 이렇게 되면 타이어가 휠보다 먼저 장애물에 접촉하게 되어 휠 손상을 막아줍니다.
이 특허는 현대자동차가 기존에 출원한 형상 변경 휠 디자인과는 다릅니다. 이전에는 배럴의 변형으로 타이어 공기압을 조절하는 형태였지만, 이 새로운 특허는 휠의 폭을 물리적으로 좁히는 타입입니다.
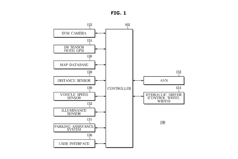
허브에 연결된 안쪽을 향한 배럴/림 콤보와 안쪽 요소에 연결된 바깥쪽을 향한 배럴/림/휠 페이스 콤보의 두 가지 주요 구성 요소로 분할하는 구조입니다. 이 두 구성 요소는 약간 오프셋되어 서로에 대해 미끄러지듯 안팎으로 움직일 수 있어 효과적으로 조절할 수 있습니다. 유압 액추에이터가 휠의 폭과 폭을 제어합니다. 휠을 타이어 폭보다 좁게 만들면 타이어가 돌출되어 보호 장벽을 만들 수 있습니다.
현대/기아차는 이 기능이 좁은 도로와 같이 연석에 최대한 가깝게 주차해야 하는 평행 주차 상황에 이상적이라고 주장합니다. 주차를 하기 위해 후진 기어를 넣으면 '휠 보호 주차 모드'가 활성화됩니다. 현대자동차의 스마트 파크 기능과 같은 주차 보조 기능을 사용할 때 자동으로 활성화되도록 준비되어 있습니다. 주차를 완료하면 휠은 정상 상태로 돌아갑니다.
이번 특허가 양산으로 이어질지는 미지수입니다. 아직은 연구 단계이고 일부에서는 휠을 보호하려다가 타이어가 찢기는 사고가 날 수 있다는 의견을 내고 있으니까요. 이 부분을 해결할 수 있는 노력이 우선된다면 좋은 결과를 기대해볼 수 있을 거 같습니다.














