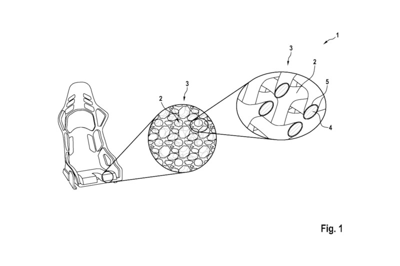
3D 프린팅으로 버킷 시트를 만드는 BMW
자동차
|
하이튜닝
|
자동차튜닝
|
튜닝카
하이튜닝
0
매거진
한국
독일
일본
유럽
이탈리아
미국
커뮤니티
갤러리
재밋글
찬성반대
최신자동차소식
자유게시판
출석부
회원 순위
공지사항
매거진
한국
독일
일본
유럽
이탈리아
미국
커뮤니티
갤러리
재밋글
찬성반대
최신자동차소식
자유게시판
출석부
회원 순위
공지사항
매거진
커뮤니티
0
갤러리
재밋글
찬성반대
최신자동차소식
자유게시판
출석부
회원 순위
공지사항
3D 프린팅으로 버킷 시트를 만드는 BMW
튜닝9
0
309
0
2023.06.11 11:34
인디비쥬얼로 사용하기 쉽겠네요
근데 모양이 좀 ㅜㅜ
0
0
Comments
0.0
/
0
삭제
수정
목록
Now
현재
3D 프린팅으로 버킷 시트를 만드는 BMW
댓글 0
|
조회 310
|
추천 0
|
2023.06.11
인디비쥬얼로 사용하기 쉽겠네요근데 모양이 좀 ㅜㅜ
Hot
인기
이것도 디펜더 닮았네요
댓글 0
|
조회 226
|
추천 0
|
2023.06.11
중국 하발 B26, 샹롱(翔龙)이라는 모델인데 전체적으로 디펜더스럽네요이런류가 유행인 듯하기도 하고요성격상으로는 빅독이랑 탱크 300 중간 정도 될 듯
Hot
인기
제네시스 G80 페이스리프트 위장막 차 업데이트
댓글 0
|
조회 283
|
추천 0
|
2023.06.11
G80이 더 G90스러워지는 듯하네요겉보다 실내 변화가 더 기대됩니다
Hot
인기
BMW M5 풀체인지 위장차 업데이트
댓글 0
|
조회 301
|
추천 0
|
2023.06.11
범퍼쪽에 이제 천만 붙여 놓은 듯하네요성능이야 좋아지겠지만 얼마나 무거워질지 걱정이네요
Hot
인기
갤로퍼가 부활한다면? 갤로퍼 디자인 해봤습니다 :)
댓글 0
|
조회 246
|
추천 0
|
2023.06.11
Hot
인기
갤로퍼가 부활한다면? 갤로퍼 디자인 해봤습니다 :)
댓글 0
|
조회 176
|
추천 0
|
2023.06.11
[이 게시물은 운영자에 의해 2023-06-13 08:46:00 자유글에서 이동 됨]
Hot
인기
람보르기니 대회에서 아반떼 N이 선두 ㅎㅋ
댓글 0
|
조회 243
|
추천 0
|
2023.06.10
슈퍼트로페오컵
Hot
인기
포니 쿠페 올드&뉴
댓글 0
|
조회 228
|
추천 0
|
2023.06.10
둘이 잘 어울리네요 ㅎ
Hot
인기
아반떼 N 단산이라는군요
댓글 0
|
조회 213
|
추천 0
|
2023.06.10
공홈에도 사라졌는데곧 신형이 나온다는 뜻인가요?아니면 정말 단종?
Hot
인기
현대 아이오닉5 N 위장막 스파이샷 추가합니다
댓글 0
|
조회 256
|
추천 0
|
2023.06.10
어부바 중인 아이오닉5 N 새로운 사진입니다저렇게 보니 휠도 멋지네요K8오너스클럽 자료입니다
Hot
인기
토요타 GR H2 레이싱 카
댓글 0
|
조회 342
|
추천 0
|
2023.06.10
수소 엔진 내구레이스 레이싱 카!!기술 사양을 공개하지 않고 길이 5,100mm, 너비 2,050mm라고만 밝혔습니다. 길이 4,650mm, 너비 1,900mm인 토요타의 LMP…
더보기
Hot
인기
베트남에서 나온다는 신차
댓글 0
|
조회 219
|
추천 0
|
2023.06.10
잘 섞은 짬뽕 믹스네요 ㅎ
Hot
인기
쿠페 디자인해보았습니다 :)
댓글 0
|
조회 270
|
추천 0
|
2023.06.09
쿠페 디자인 해보았습니다 :)
Hot
인기
테슬라 모델 3 페이스리프트 위장막
댓글 0
|
조회 282
|
추천 0
|
2023.06.09
모델3 신형입니다하드웨어 4.0 카메라가 들어간답니다
Hot
인기
렉서스 TX 공개
댓글 0
|
조회 143
|
추천 0
|
2023.06.09
인피니티 QX60 느낌
Hot
인기
렉서스 GX 공개
댓글 0
|
조회 287
|
추천 0
|
2023.06.09
Hot
인기
뷰익 E4 유출
댓글 0
|
조회 209
|
추천 0
|
2023.06.09
Hot
인기
캐딜락 XT5 풀체인지 최신 스파이샷
댓글 0
|
조회 269
|
추천 0
|
2023.06.09
캐딜락 XT5 풀체인지가 북미에서 또 포착되었습니다. 지난번과 동일하지만 전면 모습과 새로운 휠 디자인을 새로 확인할 수 있네요. 앞서 공개된 CT6 2세대, GT4처럼 중국 전용…
더보기
Hot
인기
캐딜락 3열 전기 EV 스파이샷
댓글 0
|
조회 330
|
추천 0
|
2023.06.09
리릭 바로 위에 자리잡은 캐딜락의 3열 전기 SUV입니다. 두터운 위장막을 걸치고 있던 지난번 첫 스파이샷 포착 때와 달리 외관을 어느 정도 유추할 수 있는 얇은 위장 필름만 부착…
더보기
Hot
인기
918 스파이더 후속 예고편, 포르쉐 미션 X 콘셉트 최초 공개
댓글 0
|
조회 318
|
추천 0
|
2023.06.09
포르쉐는 지난 8일 (현지시각), 2인승 콘셉트카 미션X (Mission X)를 전 세계 최초 공개했다고 밝혔다. 6월 8일은 ‘포르쉐 스포츠카 75주년’을 기념해 …
더보기
초기화
날짜순
조회순
추천순
정렬
검색
361
362
363
364
365
366
367
368
369
370
Search
검색대상
제목
내용
제목+내용
회원아이디
회원아이디(코)
글쓴이
글쓴이(코)
또는
그리고
검색어
필수
검색
닫기
Login
Login
자동로그인
회원가입
|
정보찾기
소셜계정으로 로그인
네이버
로그인
카카오
로그인
페이스북
로그인
Category
갤러리
재밋글
찬성반대
최신자동차소식
자유게시판
출석부
회원 순위
공지사항
+
Posts
02.05
만소리 손 본 벤틀리 컨티넨탈 GT 공개… 존재감은 ‘극대화’
01.26
라르테 디자인, 람보르기니 우루스 SE 전용 '라르젠다' 스타일링 키트 공개
01.23
토요타, 오지에 9회 WRC 챔피언 등극 기념 ‘GR 야리스 스페셜 에디션’ 공개
01.23
토요타, 오지에 9회 WRC 챔피언 등극 기념 ‘GR 야리스 스페셜 에디션’ 공개
01.23
이것도 차인가요?
01.23
요상한 차
01.23
GV90 입니다
+
Comments
asd
02.06
베이비 제네시스
Yeo
02.05
가성비는 최곳 수리비는?