포르쉐 911 GT2 RS에 캠버 조정 기능 제공
튜닝9
0
566
0
2023.08.09 11:57
카버즈는 포르쉐가 휠 캠버를 원격으로 조정할 수 있는 기능을 개발 중이며, 이를 통해 트랙 세팅을 개선하는 과정에서 더 많은 어려움을 제거할 수 있다고 밝혔습니다.
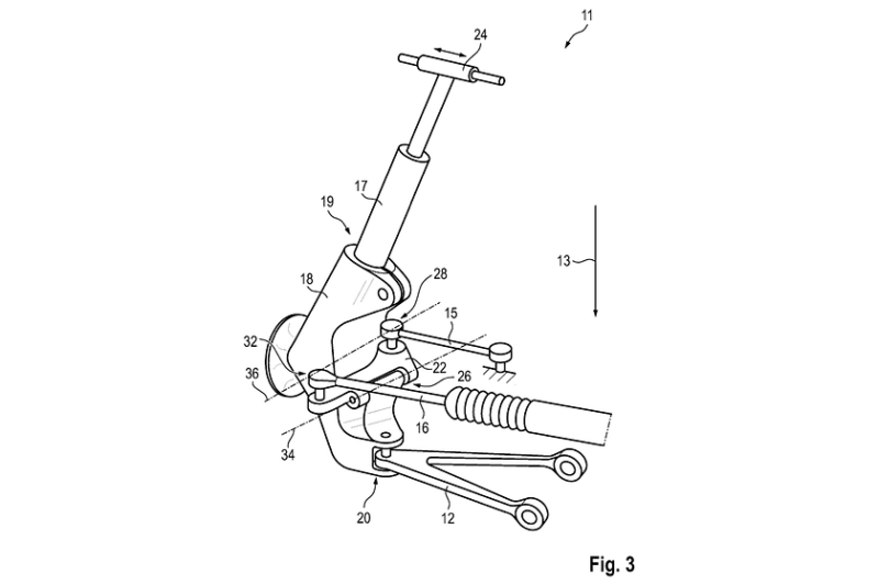
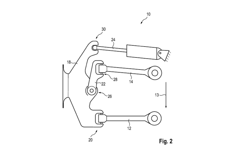
더블 위시본 서스펜션 시스템에서는 휠 캐리어에 장착된 하단 위시본/타이로드는 그대로 유지되지만 스티어링 암을 포함한 상단 위시본에 액추에이터가 추가됩니다.
휠 캐리어에서 반대쪽을 향하는 액추에이터의 이쪽 끝은 차체 또는 스티어링 기어에 결합되고 쇽업소버 어셈블리의 상단에 결합됩니다. 쇽업소버의 가장 높은 지점을 차체에 고정하고 가장 낮은 지점을 휠 캐리어에 고정하여 차체에서 가장 높은 지점의 거리를 조정하면 휠의 캠버가 영향을 받습니다.
이 시스템은 액추에이터를 사용하여 길이를 늘리거나 줄일 수 있는 쇽 어셈블리 상단의 나사산 막대에 불과한 매우 간단한 시스템이기 때문에 맥퍼슨 서스펜션과도 작동할 수 있습니다. 즉, 차량을 지면에서 들어 올리지 않고도 캠버를 조정할 수 있습니다.
992 포르쉐 911 GT3 RS는 이미 차에서 내리지 않고도 각 휠 서스펜션의 리바운드 및 압축 값을 수정할 수 있는 기능을 제공하고 있으며, 포르쉐는 이를 캠버 조정에도 쉽게 적용할 수 있을 것으로 예상하고 있습니다. 그러나 특허에는 캠버 값을 커스터마이징하는 기능에 대해서는 구체적으로 언급되어 있지 않으며, 단지 즉석에서 변경할 수 있을 뿐입니다. 즉, 이 기술은 센서와 소프트웨어를 기반으로 또는 미리 정해진 값 사이에서 자동으로 작동할 수 있다는 뜻입니다.


















