비전 기반 자율주행 고질적 문제 해결하기 위한 테슬라 특허 등록
튜9
0
24
0
2025.12.21 23:44
비전 기반 자율주행의 고질적 문제 중 하나가 역광/눈부심입니다. 사람은 선글라스나 썬바이저로 대응하는데 카메라는 그런 수단이 없으니까요.
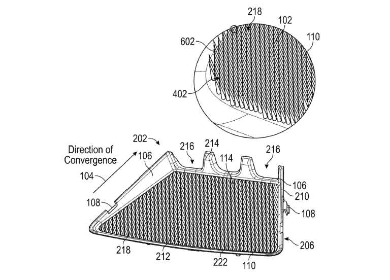
테슬라가 이번에 공개한 특허는 '마이크로 콘' 구조의 글레어 실드입니다. 카메라 전면에 미세한 원뿔형 돌기 배열을 배치해서 입사광을 여러 방향으로 산란시키는 방식이고, 콘의 크기·각도·방향을 최적화해 총반구반사율(THR)을 최소화한다고 합니다. 전기기계식 구동으로 광원 각도에 따른 실시간 조절도 가능하다고 하네요.
머스크가 2분기 실적발표에서 언급한 '직접 광자 카운트' 방식도 병행 개발 중입니다. 기존 ISP 처리 과정에서 태양광 직사 시 이미지가 날아가는 문제를 광자 직접 측정으로 완화하겠다는 접근이고요.
HW5·HW6에는 ND 필터나 히팅 렌즈 같은 하드웨어 솔루션 통합도 검토 중이라고 합니다.
비전 온리를 유지하려면 이런 엣지 케이스들을 하나씩 메워가야 하는데, 소프트웨어만으로 안 되니까 결국 하드웨어 보완책이 계속 추가되는 모양새네요. 라이다 도입 비용이랑 이런 개별 솔루션 개발 비용 중 뭐가 더 효율적인지는 지켜봐야 할 것 같습니다.

















