대박! 탈부착식 도어 모듈 탑재될 현대 픽업트럭

대박! 탈부착식 도어 모듈 탑재될 현대 픽업트럭

튜9 0 82 0

 

cd72133cda3c93fba52b087a50274d3d_1767357170_6055.webp

 

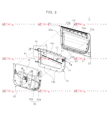
현대가 특허를 통해 분리형 모듈식 도어 시스템이 적용된 픽업 트럭 설계를 공개했습니다.  


도어를 프레임, 외피, 내부 패널로 나눠 개별 탈부착이 가능하도록 한 구조인데,  레저/오프로드 성향 차량에 특화된 미래 지향적 아이디어로 보입니다.


스킨·내부 모듈만 교체해 커스터마이즈하거나 손상 시 일부만 교체하는 등  캠핑·오프로드 트럭을 타깃으로 한 유틸리티 확장 방향성이 엿보입니다.


실제 양산으로 이어질지는 아직 확답이 없지만 이런 도어 개념은 브롱코/랭글러식 라이프스타일 픽업과 경쟁 가능한 요소로 보입니다.

0 Comments     0.0 / 0
제목
Category
Facebook Twitter GooglePlus KakaoStory KakaoTalk NaverBand