포드, 전기차용 수동변속기 특허 공개

포드, 전기차용 수동변속기 특허 공개

ev 0 316 0

포드자동차가 전기차에 수동변속의 묘미를 되살리는 특허를 공개했다. 지난 3월 20일 미국 특허청에 등록된 ‘전기차용 변속기 어셈블리’는 기어가 없는 전기차에서도 기어 변속의 감각을 즐길 수 있게 해주는 기술이다.

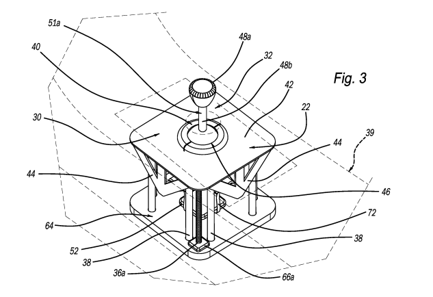
이 특허의 핵심은 일반 내연기관 차량의 변속 레버와 동일한 모양의 장치다. 하지만 실제 기어와 연결되는 대신, 레버 움직임이 전자 신호로 변환되어 전기모터의 출력을 조절한다. 운전자가 기어를 바꾸는 동작을 하면 모터 출력이 일시적으로 조절되며 변속감을 모방한다.

단순한 모형이 아닌 실제 감각까지 구현했다는 점이 주목할 만하다. 레버 기반에 내장된 소형 모터가 진동과 저항감을 만들어내 마치 실제 기어가 맞물리는 듯한 촉감을 제공한다. 필요에 따라 전체 장치를 접을 수도 있어 일반 주행 시 불편함도 줄였다.

현대자동차는 이미 아이오닉 5 N에 가상 변속 패들을 적용했고, 토요타도 렉서스 RZ 프로토타입에 클러치까지 갖춘 유사 시스템을 시험 중이다. 이처럼 여러 자동차 제조사들이 전기차의 고성능을 유지하면서도 운전의 즐거움을 높이는 방법을 모색하고 있다.

전기차는 이미 최고의 가속 성능을 갖추고 있지만, 내연기관 차량 특유의 운전 감각은 부족하다는 평가를 받아왔다. 포드의 이번 특허는 전통적인 운전 경험을 선호하는 소비자들을 전기차 시장으로 유인하기 위한 전략으로 볼 수 있다.

2023년부터 개발해온 이 기술이 실제 생산 모델에 적용될지는 아직 불확실하지만, 전기차 시대에도 운전의 즐거움을 추구하는 포드의 비전을 엿볼 수 있는 사례다.

ford ev shifter patent스크린샷 2025 03 25 161943

0 Comments     0.0 / 0
제목
Category
Facebook Twitter GooglePlus KakaoStory KakaoTalk NaverBand