최신자동차소식 166 페이지 > 하이튜닝스
자동차튜닝
|
자동차
|
하이튜닝
|
튜닝카
하이튜닝
0
매거진
한국
독일
일본
유럽
이탈리아
미국
커뮤니티
갤러리
재밋글
찬성반대
최신자동차소식
자유게시판
출석부
회원 순위
공지사항
매거진
한국
독일
일본
유럽
이탈리아
미국
커뮤니티
갤러리
재밋글
찬성반대
최신자동차소식
자유게시판
출석부
회원 순위
공지사항
매거진
커뮤니티
0
갤러리
재밋글
찬성반대
최신자동차소식
자유게시판
출석부
회원 순위
공지사항
Hot
인기
현대차, 이제부터 테슬라 슈퍼차저 네트워크 이용 가능
댓글 0
|
조회 334
|
추천 0
|
2025.03.26
현대자동차의 전기차 소유자들이 미국 전역의 테슬라 슈퍼차저를 이용할 수 있게 되었다. 지난 화요일 발표된 내용에 따르면, 현대차는 코나 일렉트릭, 아이오닉 해치백, 아이오닉 5, …
더보기
Hot
인기
i3 기반의 BMW M3 전기 버전 테스트카
댓글 0
|
조회 368
|
추천 0
|
2025.03.26
BMW가 테스트 중인 차세대 M3입니다아시는 것처럼 차기형은 내연기관 버전과 전기 버전 모두 나온다는데 이번에 포착된 사진은 전기 버전입니다즉, i3의 고성능 버전이죠가솔린 버…
더보기
Hot
인기
위장 거의 없는 포르쉐 신형 911 GT3 만테이 버전
댓글 0
|
조회 340
|
추천 0
|
2025.03.26
포르쉐 911 GT3 중에서도 트랙 주행에 맞춰 개발 중인 만테이(Manthey) 버전입니다포르쉐의 오랜 파트너인 만테이팀의 노하우를 반영했다고 하네요나라별로 키트 가격이 꽤…
더보기
Hot
인기
BMW 신형 M350 뉘르부르크링 테스트 포착
댓글 0
|
조회 425
|
추천 0
|
2025.03.26
BMW 3시리즈 8세대 M350이 뉘르부르크링에서 첫 테스트 주행 중 포착됐습니다.신형 M350은 M3보다 한 단계 아래지만 동일한 3.0리터 트윈터보 6기통…
더보기
Hot
인기
포르쉐 911 터보 S(911 Turbo S) 페이스리프트 스파이샷
댓글 0
|
조회 325
|
추천 0
|
2025.03.26
뉘르부르크링에서 테스트 중인 신형 911 터보 S입니다이번 사진에선 전면 비닐과 에어 인테이크를 가리던 커버를 모두 벗어던졌네요대형 에어 인테이크가 완벽하게 보이…
더보기
Hot
인기
유출된 르노 오스트랄(Austral) 페이스리프트 모습
댓글 0
|
조회 276
|
추천 0
|
2025.03.26
르노 오스트랄(Austral) 페이스리프트 사진이 공개를 앞두고 페이스북을 통해 잠깐 유출되었네요지금은 다시 삭제된 모양입니다예상도랑 크게 다르지 않습니다
Hot
인기
국내 입항한 모델y 주니퍼 떼
댓글 0
|
조회 294
|
추천 0
|
2025.03.25
이제 곧 국내 출시할 모양입니다 울트라 레드 예프네요사진은 링크 참고요
Hot
인기
현대 캐스퍼 고성능 쇼카 인스터로이드 추가 티저
댓글 0
|
조회 297
|
추천 0
|
2025.03.25
Hot
인기
BMW 7~8억대 스카이탑 한정판 스파이샷
댓글 0
|
조회 407
|
추천 0
|
2025.03.25
Hot
인기
800V 시스템 탑재한 스마트 #5, 테슬라보다 빠른 충전 속도 선보여
댓글 0
|
조회 403
|
추천 0
|
2025.03.25
메르세데스-벤츠와 지리자동차의 합작 브랜드 스마트가 중형 SUV ‘스마트 #5’를 유럽 시장에 공개했다. 이름과 달리 브랜드의 다섯 번째 모델은 아니지만, 가장 큰 크기를 자랑하는…
더보기
Hot
인기
현대 캐스퍼 고성능 쇼카 인스터로이드 티저 2
댓글 0
|
조회 391
|
추천 0
|
2025.03.25
Hot
인기
르노 오스트랄 페이스리프트 예상
댓글 0
|
조회 278
|
추천 0
|
2025.03.25
앞부분만 라팔 느낌으로 변신했네요 ㅎ
Hot
인기
브랜드별 2월 유럽 판매량 순위
댓글 0
|
조회 314
|
추천 0
|
2025.03.25
3강 4중 3약으로 요약되나요?
Hot
인기
중국 BYD, 매출액도 테슬라 제치고 글로벌 전기차 시장 왕좌 차지
댓글 0
|
조회 325
|
추천 0
|
2025.03.25
중국 전기차 제조업체 BYD가 글로벌 전기차 시장에서 테슬라를 넘어서는 성과를 거두었다. 지난해 생산량에 이어 올해는 매출액에서도 테슬라를 추월했다.BYD는 2024년 1,070억…
더보기
Hot
인기
포드, 전기차용 수동변속기 특허 공개
댓글 0
|
조회 316
|
추천 0
|
2025.03.25
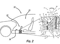
포드자동차가 전기차에 수동변속의 묘미를 되살리는 특허를 공개했다. 지난 3월 20일 미국 특허청에 등록된 ‘전기차용 변속기 어셈블리’는 기어가 없는 전기차에서도 기어 변속의 감각을…
더보기
Hot
인기
실내 디자인 포착, 쉐보레 콜벳 조라 스파이샷
댓글 0
|
조회 288
|
추천 0
|
2025.03.25
쉐보레 콜벳 조라의 스파이샷이 공개됐는데, 실내도 슬쩍 보이네요조라 이외에 2026년형 모든 콜벳에도 적용될 새로운 실내라고 하네요.가장 큰 변화는 그 유명한 '버튼 벽'이…
더보기
Hot
인기
이상하게 위장막 걸친 현대 아이오닉 9 차량
댓글 0
|
조회 257
|
추천 0
|
2025.03.25
이미 다 오픈된 모델인데 어떤 걸 테스트하는 걸까요?2.5 하이브리드일까요?바이크제로님 블로그펌입니다
Hot
인기
제네시스 , 킨텍스에서 공개할 컨셉트카 티저
댓글 0
|
조회 265
|
추천 0
|
2025.03.25
Hot
인기
지커(Zeekr), 120km/h에서도 회피 가능한 첨단 자율주행 기술 공개
댓글 0
|
조회 439
|
추천 0
|
2025.03.25
지커(Zeekr)가 멀티 라이다와 1,400 TOPS의 강력한 연산 능력을 갖춘 G-파일럿 지능형 주행 보조 시스템을 발표했다. 이 첨단 ADAS는 화웨이와 BYD…
더보기
Hot
인기
단독기아, 2027년 '6세대 스포티지' 투입…100% 하이브리드 전환
댓글 0
|
조회 497
|
추천 0
|
2025.03.25
기아가 2027년 선보일 6세대 '스포티지'를 100% 하이브리드 모델로 출시한다.주력 시장인 북미와 유럽의 높은 하이브리드차 성장세에 대응하면서 순수 전기차 시대로 전환하는 징…
더보기
초기화
날짜순
조회순
추천순
정렬
검색
161
162
163
164
165
166
167
168
169
170
Search
검색대상
제목
내용
제목+내용
회원아이디
회원아이디(코)
글쓴이
글쓴이(코)
또는
그리고
검색어
필수
검색
닫기
Login
Login
자동로그인
회원가입
|
정보찾기
소셜계정으로 로그인
네이버
로그인
카카오
로그인
페이스북
로그인
Category
갤러리
재밋글
찬성반대
최신자동차소식
자유게시판
출석부
회원 순위
공지사항
+
Posts
01.26
라르테 디자인, 람보르기니 우루스 SE 전용 '라르젠다' 스타일링 키트 공개
01.23
토요타, 오지에 9회 WRC 챔피언 등극 기념 ‘GR 야리스 스페셜 에디션’ 공개
01.23
토요타, 오지에 9회 WRC 챔피언 등극 기념 ‘GR 야리스 스페셜 에디션’ 공개
01.23
이것도 차인가요?
01.23
요상한 차
01.23
GV90 입니다
01.23
현대차, 2026년형 싼타페·투싼 등 가격 인상
+
Comments
gex
01.06
추억돋네
Tty
01.05
디자인은 좋네요
g
01.05
이렇게 스페셜 버전이라도 나와주면 좋겠구만