전기차에 변속기가 다시 뜨나? 스텔란티스, 3단 기어 특허로 오프로드 시장 정조준
튜9
0
177
0
2025.06.17 10:12
전기차에선 필요 없는 부품으로 여겨지던 ‘변속기’가 다시 주목받고 있다. 스포츠카 위주로 2단 기어 영역을 넓히고 있는 가운데 스텔란티스(Stellantis)가 최근 전기차용 3단 기어박스 특허를 내 눈길을 끈다.
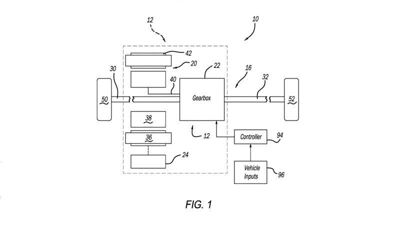
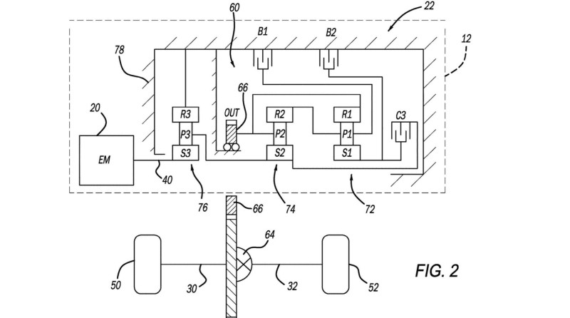
이번 특허는 단순한 전동화 기술이 아닌, 오프로드 주행 성능을 높이기 위한 기어 구동 시스템에 관한 것이다. 특허 문서에 따르면, 이 변속기는 ▲저속 기어(로우 레인지) ▲고속 기어(하이 레인지) ▲직결 기어(다이렉트 드라이브)의 세 가지 기어비를 제공한다. 이와 같은 구성이 가능한 전기차 변속기는 드문 편으로, 전통적인 Jeep이나 Ram 차량에서 보던 구동 방식에 가까운 특징을 보인다.
스텔란티스는 특히 저속 기어는 험로 주행이나 장애물 극복, 고속 기어는 도로 및 사막 주행, 직결 기어는 일반 주행에 적합하다고 설명한다. 일반적으로 전기차는 단일 기어로 구동되는 구조를 갖추지만, 이는 오프로드나 사막처럼 고토크가 지속적으로 필요한 주행 상황에선 부족하다는 것이 스텔란티스의 주장이다.
이번 특허 기술은 앞바퀴, 뒷바퀴, 혹은 네 바퀴 모두를 구동할 수 있으며, 전자식 디퍼렌셜 락 기능까지 지원할 수 있어 전통적인 오프로더의 구동 방식과 유사하다.
이를 적용할 첫 모델은 전기 SUV ‘지프 리콘(Jeep Recon)’이 될 것으로 보인다. 리콘은 랭글러 언리미티드와 비슷한 차체 크기에 독립식 서스펜션, 락킹 디퍼렌셜 등을 갖춘 브랜드 최초의 순수 전기 오프로드 차량으로, 현재 개발이 진행 중이다.


















